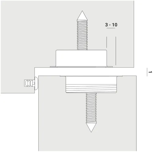
Magnetická západka dveří STOPPINO CLOSE
STOPPINO CLOSE je zavírací systém pro dveře bez tradičních zámků.
local_shipping Doručení zdarma pro všechny objednávky nad 3500 Kč
Vaše osobní údaje jsou u nás v bezpečí
Rychlé doručení objednávky kurýrem
Vrácení zboží do 14 dnů*
Popis


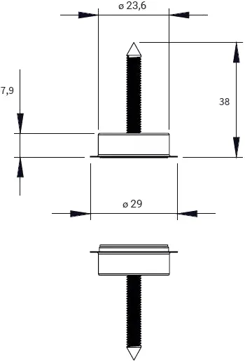
Parametry
Doručení
Doručení zboží
Kurýr GLS - 180Kč s DPH
Zboží zasíláme přes kurýrní společnost GLS na Vaši adresu.
Doba doručení: Na druhý pracovní den od odeslání.
Osobní odběr pobočkách Zásilkovna - 115Kč s DPH
Seznam výdejních míst naleznete na tomto odkazu: Výdejní místa Zásilkovna >>
Doba doručení na pobočku: 2-3 pracovní dny od odeslání.
Důležitá informace: tento dopravce má určité rozměrové a váhové omezení. Pokud se tento způsob doručení nezobrazí ve výběru při zadávání objednávky, znamená to, že objednávku nelze přepravit tímto dopravcem.
Při objednávce nad 3500Kč je doručení zdarma pro všechny typy doručení.
Produkty ve stejné kategorii: 16